名付けてショットベンダーです。
以前に考えた改造だけれど、最近はローリングベンダーという便利なもの出ているから、
それ取り付けたほうが簡単にダブルベンダ-に改造出来るね。
テレキャスター パーソンズ/グリーン BベンダーをGBベンダーにする。
テレキャスター パーソンズ/ホワイト BベンダーをEBベンダーにする。
実際作ってはいません、ちょっと思いつきで、絵を書いてみました。実寸を取りましたので、出来ると思います。
用意する物 ヒップショット、Bベンダー付きテレキャスター、小さいヤスリ、電気ドリル、ドライバー 等
最初にGBベンダーの作り方、パーソンズ/グリーンベンダーを使います。
1. まずブリッジの3弦Gの駒を取り外します。2弦Bの駒と同じように弦の通る道をヤスリで削って加工します。(タダし駒が下記の図面のタイプのとき。
2. ヒップショットのベースプレートを図のように約29mm丸ぐらいにドリルで何箇所も穴をあけて、ヤスリで整形して加工します。(格好など、かまわないのなら四角く切り取ってもイイです。)
3. ヒップショットを取りつけます。
注意事項 ヒップショットの弦を押さえる部分とBベンダーの作動部分が重ならないように注意する。
ギターのエンドストラップピンがヒップショットのレバーにあたらないようにする。
上記2項目は非常にパーツが近接していますので注意してください。
プレートに穴をあける位置
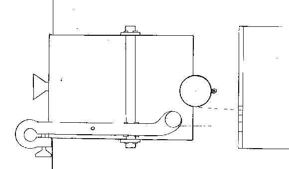
取りつけると下図のようになります

続いてEBベンダーです パーソンズ/ホワイトベンダーを使用します。
要領はGBベンダーと同じです。
上記注意事項はここでは当てはまりません。
プレートに穴をあける位置
取りつけると下図のようになります

ちなみに各ベンダーの作動部の位置関係です。
